Синтез и исследование спектрально-люминесцентных свойств оксифторидных стекол системы BaF2–BaO–SiO2–B2O3–Bi2O3–ZnO–Y2O3, активированных оксидами Er2O3 и Yb2O3
- Authors: Кожевникова Н.М.1
-
Affiliations:
- Байкальский институт природопользования СО Российской академии наук
- Issue: Vol 60, No 6 (2024)
- Pages: 733-739
- Section: Articles
- URL: https://journals.rcsi.science/0002-337X/article/view/288244
- DOI: https://doi.org/10.31857/S0002337X24060108
- EDN: https://elibrary.ru/MRWCOA
- ID: 288244
Cite item
Full Text
Abstract
Разработаны и синтезированы оксифторидные стекла в системе BaF2–BaO–SiO2–B2O3–Bi2O3–ZnO–Y2O3 при различном соотношении исходных компонентов. Исследованы спектрально-люминесцентные свойства стекол, активированных оксидами Er2O3 и Yb2O3. По данным рентгенофазового анализа все образцы стекол рентгеноаморфны, определена температура стеклования (Tg). Изучение локальной структуры методом ИК-спектроскопии показало, что стекла независимо от состава содержат сложные полиборатные анионы, образованные [BO3]- и [BO4]-группами, также происходит встраивание висмута в сетку стекла с образованием Bi–O–Si-связей и сеткообразователей в виде [BiO6]-групп.
Full Text
ВВЕДЕНИЕ
В настоящее время большое внимание уделяется развитию физико-химической базы направленного рационального поиска и разработки новых материалов на основе стекол с необходимыми спектрально-люминесцентными свойствами, которые обладают относительно низкими температурами синтеза и позволяют вводить большие концентрации редкоземельных активаторов [1−7]. За последние годы стекла, особенно оксидные и оксифторидные, вызывают повышенный интерес из-за нелинейных оптических свойств, которые важны для создания широкополосных инфракрасных лазеров, устройств оптической памяти, для записи и сохранения информации. Ап-конверсионные люминофоры, преобразующие возбуждающее инфракрасное излучение в видимое, на основе оксидных и оксифторидных стекол нашли практическое применение в солнечных батареях, для получения люминесцирующих покрытий светодиодов и трехмерных многоцветных дисплеев, активных элементов лазеров, для биомедицинской визуализации. Для этих целей используются фториды, оксифториды, оксидные матрицы, легированные редкоземельными ионами [1−5].
Успешное развитие современной техники и технологии во многом обусловлено разработками новых высокоэффективных функциональных материалов, значительная часть которых относится к стеклам, которые играют двойную роль нелинейной и усилительной среды и обладают однородностью размеров и технологическими преимуществами синтеза [1−17]. Особый интерес с точки зрения создания люминофоров представляют стекла, допированные редкоземельными элементами (РЗЭ). Наиболее подходящими матрицами для РЗЭ являются стекла, содержащие оксиды тяжелых металлов, в частности, Y2O3, Bi2O3 [1, 8, 9, 13]. В стеклах полосы поглощения более широкие за счет неоднородного уширения. Оксифторидные стекла сочетают в себе достоинства оксидных стекол (химическую и термическую стабильность) и фторидных (высокие квантовые выходы и широкие полосы поглощения). Такие стекла обладают высокими показателями преломления, высокой плотностью, протяженной областью прозрачности в видимом и ИК-диапазонах [2−6]. Стекла, содержащие B2O3 и ZnO, характеризуются значительными областями стеклообразования, что позволяет варьировать их состав и свойства. Соактивирование стекол ионами висмута Bi3+ и РЗЭ приводит к увеличению квантового выхода люминесценции за счет перехода энергии с возбужденных уровней Bi3+ на R3+ [1, 6, 8, 9, 12]. Изучение влияния висмутсодержащих стекол и оксидов РЗЭ перспективно для создания эффективных ап-конверсионных люминофоров.
Оксифторидные боросиликатные стекла имеют каркасную структуру с большим размером пустот, что облегчает зародышеобразование кристаллической фазы и в то же время ограничивает размеры образующихся частиц, что позволяет влиять на свойства люминофора посредством варьирования состава стекол и термообработки [2−6]. Оксифторидные стекла характеризуются широкими областями стеклообразования, уникальными оптическими свойствами и возможностями практического применения в таких областях, как оптика, квантовая электроника, лазерные технологии [2−7, 12−17].
Целью данной работы является получение оксифторидных стекол системы BaF2–BaO–SiO2–B2O3–Bi2O3–ZnO–Y2O3 с различным соотношением компонентов, легированных оксидами Er2O3 и Yb2O3, изучение их физико-химических и спектрально-люминесцентных свойств для использования в качестве ап-конверсионных люминофоров. Сведения об изучении люминесцентных свойств в этой системе в литературе отсутствуют.
ЭКСПЕРИМЕНТАЛЬНАЯ ЧАСТЬ
Для синтеза стекол использовали Bi2O3 квалификации “ос.ч.”, а также H3BO3, BaO, SiO2, ZnO и BaF2 квалификации “х.ч.” и “ч.д.а.”, Y2O3, Yb2O3, Er2O3 “ос.ч.” с содержанием основного компонента 99.999%. Исходные реактивы, взятые в соответствующих пропорциях, тщательно перемешивали со спиртом в агатовой ступке до получения однородной гомогенной смеси, просушивали при температуре 100–150°С и плавили в керамическом тигле при 850–950°С. Плавление проводили в течение 6-8 ч до полной гомогенизации расплава. Охлаждение проводилось инерционно вместе с печью. Синтез стекол в системе BaF2–BaO–SiO2–B2O3–Bi2O3–ZnO–Y2O3 проводился для трех составов (табл. 1).
Таблица 1. Состав образцов стекол и температура стеклования
Обозначение | Состав, мас. % | tg, °С |
Ст-1 | 25BaF2–8BaO–10SiO2–12B2O3–15Bi2O3–10ZnO–8Y2O3−8Yb2O3–4Er2O3 | 532 |
Ст-2 | 27BaF2–10BaO–9SiO2–10B2O3–16Bi2O3–8ZnO–10Y2O3–8Yb2O3–2Er2O3 | 539 |
Ст-3 | 28BaF2–7BaO–10SiO2–10B2O3–18Bi2O3–7ZnO–10Y2O3–9Yb2O3–1Er2O3 | 545 |
Рентгенофазовый анализ выполняли на дифрактометре D8 ADVANCE фирмы Bruker AXS с использованием CuKα-излучения в области углов 2θ = 10°–40°. Точность определения углов составляла 0.021°. Для идентификации фаз использовали базу данных ICDD 2003 г. Температуру стеклования (tg ) определяли методом дифференциально-сканирующей калориметрии на синхронных термоаналитических комплексах NETZSCH STA 449F1. Навеску (15–20 мг) измельченного образца помещали в специальные платиновые тигли. В качестве эталона использовали пустой платиновый тигель, прокаленный при 1200°С до постоянной массы. Нагрев образцов проводили со скоростью 10˚С/мин до температуры 1200°С с точностью определения температуры ±1°С.
Изучение структурных особенностей полученных стекол выполнено методом инфракрасной спектроскопии. ИК-спектры регистрировали на спектрометре ALPHA (Bruker, Германия) в диапазоне волновых чисел 4000–600 см−1 на приставке НПВО (кристалл ZnSe) в области 400–2000 см−1, исследования проводили на порошках, спрессованных в таблетки с KBr. Отнесение полос в ИК-спектрах к тем или иным структурным элементам кристаллической решетки и локальной структуры стекол осуществляли в соответствии с известными данными [2, 8–11].
Люминесцентные характеристики образцов люминофоров с различной концентрацией оксидов эрбия и иттербия измерены на спектрометре Ocean Optics QE 65000. Для возбуждения люминесценции в ИК-диапазоне использовали InGaAs-лазерный диод, λвозб = 977 нм (0.5 Вт/см2). Схема реализации ап-конверсии в системе ионов Yb3+–Er3+ представлена в работе [16]. Энергетический выход ап-конверсионной люминесценции измерен в видимом диапазоне спектра с помощью интегрирующей сферы. Возбуждающее излучение вводилось внутрь сферы и фокусировалось на образце (размер пятна 1 см2). Приемником излучения являлся кремниевый фотодатчик TSL237 с диапазоном чувствительности 300–1100 нм. Интенсивность возбуждающего пучка измерялась с помощью как сферы, так и термопарного измерителя мощности лазерного излучения ИМО-2М. Интенсивность ап-конверсии измеряли через фильтр С3С25, отсекающий инфракрасное излучение лазера 977 нм. Преобразование показаний TSL237 в мощность излучения (ватты) осуществлялось с помощью лазера 536 нм через ослабляющий фильтр НС13 с измеренной мощностью. Энергетический выход ап-конверсионной люминесценции (Веn) определялся как отношение излученной мощности к поглощенной (Pem /Pabs). Поглощенную мощность рассчитывали как разницу между рассеянием от стандартного образца, не содержащего легирующих ионов, и от исследуемого образца. Времена жизни ап-конверсионной люминесценции ионов Er3+ определены в люминофоре с максимальным значением Ben= 0.46% при переходах между уровнями 2H11/2→4I15/2 и 4S3/2→4I15/2 (зеленая область спектра) и 4F9/2→4I15/2 (красная область спектра) с использованием интегрирующей сферы.
РЕЗУЛЬТАТЫ И ОБСУЖДЕНИЕ
Все образцы синтезированных стекол: 25BaF2–8BaO–10SiO2–12B2O3–15Bi2O3–10ZnO–8Y2O3–8Yb2O3–4Er2O3 (Ст-1), 27BaF2–10BaO–9SiO2–10B2O3–16Bi2O3–8ZnO–10Y2O3–8Yb2O3–2Er2O3 (Ст-2) 28BaF2–7BaO–10SiO2–10B2O3–18Bi2O3–7ZnO–10Y2O3–9Yb2O3–1Er2O3 (Ст-3), в которых оксид Y2O3 был частично замещен на лазерно-активные оксиды Er2O3 и Yb2O3, рентгеноаморфны, о чем свидетельствует отсутствие дифракционных пиков и наличие широкой линии (гало, 10°−20°) (рис. 1). Температура стеклования стекол указана в таблице, с увеличением содержания Bi2O3 и BaF2 параметр tg возрастает.
Рис. 1. Рентгенограммы стекол Ст-1 (1), Ст-2 (2), Ст-3 (3).
В ИК-спектрах стекол Ст-1, Ст-2, Ст-3, снятых в диапазоне 400–2000 см−1 (рис. 2), доминирует интенсивная полоса поглощения в области 800–1100 см−1 с максимумом 896 см−1, относящаяся к валентным колебаниям Bi–O в [BiO6]-полиэдрах [9]. Кроме того, в спектрах можно выделить еще три менее интенсивные полосы с максимумами около 673, 1239, 1353 см−1. Полоса в области 620–720 см−1 соответствует деформационным колебаниям В–О–В в [BO3]-треугольниках, присутствие бора в четверной координации подтверждают полосы с максимумами 932 и 976 см−1. Полоса около 766 см−1 относится к В–О–В-связи, в которой кислородный мостик находится между тригональным и тетрагональным атомами бора [4−6]. Полоса в области 1200–1500 см−1 имеет сложную форму и является суперпозицией двух компонентов: полосы поглощения с максимумом 1239 см−1 и линии вблизи 1320 см−1, первая компонента соответствует асимметричным бор-кислородным колебаниям в [BO3]-треугольниках, вторая – валентным колебаниям в BiO3. Полоса с максимумом 867 см−1 относится к симметричным валентным колебаниям в [BiO6]-полиэдрах. Деформационные колебания концевых группировок Si–O− связаны с полосой около 818 см−1, колебания связей O–Si–O в островных группах [SiO4] соответствуют области с максимумом при 932 см−1 [9], к которой также относятся бор-кислородные колебания в тетраэдрах [BO4]. Полосы в области 450–460 см−1 обусловлены деформационными колебаниями Si–O–Si-мостиков и колебаниями Zn–O-связей [5−7]. Полосы с максимумами 668 и 689 см−1могут быть отнесены к колебаниям Si–O и Bi–O в BiO3-пирамидах, полосы около 545 см−1 принадлежат колебаниям Ba–F-связей [8−11]. Анализ ИК-спектров полученных стекол показал, что основное состояние ионов висмута в системах октаэдрическое с образованием групп [BiO6]. Тогда заряд ионов висмута 3+, что позволяет отнести Bi2O3 к стеклообразующему оксиду с формированием висмутатной структурной сетки из деформированных октаэдрических групп [BiO6] и образованием связей Bi–O–Si. Также стекла независимо от состава содержат сложные полиборатные анионы, образованные [BO3]- и [BO4]-группами, при этом происходит встраивание висмута в сетку стекла с образованием связей Bi–O–Si и сеткообразователей в виде [BiO6]-групп [5].
Рис. 2. ИК-спектры стекол Ст-1 (1), Ст-2 (2), Ст-3 (3).
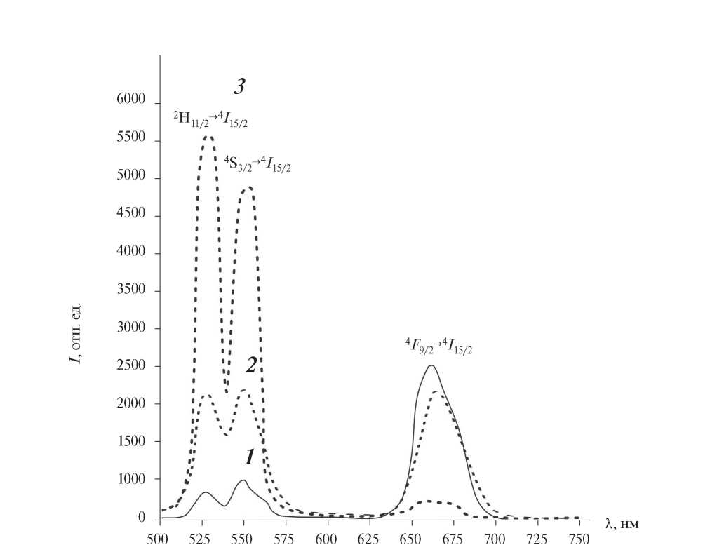
В работах [18, 19] ап-конверсионной люминесценцией принято называть люминесценцию, которая приводит к образованию кванта света с большей энергией, чем энергия кванта возбуждения. Ап-конверсионная люминесценция в редкоземельных ионах возникает в результате как процессов, протекающих внутри одного иона, так и благодаря кооперативным межионным взаимодействиям с суммированием энергии. Ионы иттербия-донора обладают высоким эффективным сечением поглощения в ИК-области. Энергетические состояния иона эрбия-акцептора обладают длительным временем жизни, поэтому ион-донор может безызлучательно передать на долгоживущее состояние акцептора сразу несколько поглощенных фотонов, что приведет к увеличению энергии возбужденного метастабильного состояния и, соответственно, уменьшению длины волны люминесценции. Происхождение наблюдаемых полос при возбуждении (λвозб = 977 нм) в спектрах ап-конверсионной люминесценции могут быть объяснены следующим образом (рис. 3а). После двухстадийного последовательного возбуждения ионов Er3+ до уровня 4F7/2 в результате безызлучательных релаксаций происходит заселение возбужденных уровней 2Н11/2, 4S3/2, 4F9/2, 4I9/2, что приводит к ап-конверсионной люминесценции в области 500–700 нм [2, 3, 18−21]. Спектры люминесценции обладают средней полосой излучения на 525 нм, полосой сильной интенсивности на 550 нм в зеленой области и средней полосой излучения на 663 нм в красной области спектра. Полосы излучения на 525 и 550 нм в зеленой области спектра соответствуют переходам 2H11/2→4I15/2 и 4S3/2→4I15/2 в ионах Er3+, а излучение на 663 нм в красной области спектра связано с переходом 4F9/2→4I15/2. Ионы-активаторы Er3+ являются центрами люминесценции люминофора, а сенсибилизируюшее действие ионов Yb3+ увеличивает интенсивность ап-конверсионной люминесценции благодаря эффективной передаче энергии от Yb3+ к Er3+ и более высокого коэффициента поглощения иттербия по сравнению с эрбием. Вследствие низкой населенности уровня 4F9/2 наиболее вероятным каналом возбуждения является заселение вышележащих уровней из более заселенного уровня 4S3/2 через перенос энергии от иона Yb3+ с последующим распадом этих высоко лежащих уровней в 2H9/2 [13, 14]. При переходе с высоко лежащих уровней энергии может происходить видимая люминесценция. Более высокая интенсивность обусловлена отношением концентраций ионов Yb3+ : Er3+, равным 9 : 1, другие отношения концентраций ионов иттербия и эрбия не являются оптимальными. Высокое содержание ионов иттербия и низкое содержание ионов эрбия способствуют повышению интенсивности ап-конверсионной люминесценции, что обусловлено эффективным переносом энергии от иона иттербия к иону эрбия. Экспериментальные значения энергетического выхода (Ben) для активированных стекол составляют: 0.24% для Ст-1, 0.28% для Ст-2, 0.46% для Ст-3. Времена жизни ап-конверсионной люминесценции ионов Er3+ в люминофоре с максимальным значением Ben= 0.43% при переходах между уровнями 2H11/2→4I15/2 и 4S3/2→4I15/2 (зеленая область спектра) и 4F9/2→4I15/2 (красная область спектра) составили 53 ± 5 и 23 ± 3 мкс. На рис. 3б [21] приведена схема энергетических уровней ионов Yb3+–Er3+ и указаны основные процессы кооперативного межионного взаимодействия с суммированием энергии, которые могут приводить к заселению уровней 2H11/2 + 4S3/2 и 4F9/2 ионов Er3+.
Рис. 3а. Спектры люминесценции образцов люминофоров на основе оксифторидных стекол Ст-1 (1), Ст-2 (2), Ст-3 (3) с разной концентрацией ионов активаторов.
Рис. 3б. Схема реализации ап-конверсии в системе ионов Yb3+–Er3+ по данным [16].
Наиболее эффективными механизмами заселения вышележащих электронных уровней 2H11/2 + 4S3/2 и 4F9/2 ионов Er3+ в исследуемых материалах могут быть нелинейные ап-конверсионные процессы 1 (рис. 4), в результате которых энергия двух возбужденных ионов Yb3+ передается одному иону Er3+, находящемуся в основном состоянии 4I15/2, и процесс 2, в результате которого два иона Er3+ в возбужденном состоянии 4I11/2 разменивают свою энергию, в результате чего один из них переходит в вышележащее состояние 4F7/2 [21]. При этом в результате конкурирующего безызлучательного механизма кросс-релаксации 3 (рис. 4) происходит эффективная разгрузка состояний 2H11/2 + 4S3/2. Электронный уровень 4F9/2 может эффективно заселяться за счет как спонтанного распада ионов Er3+ с уровней 2H11/2 + 4S3/2, так и нелинейного ап-конверсионного взаимодействия 4 (рис. 4) [21].
Рис. 4. Схема энергетических уровней и основные безызлучательные кооперативные процессы между ионами Yb3+ и Er3+ по данным [21]:
1 – 2х (2F5/2 – 2F7/2 (Yb3+) + (4I15/2 – 4I11/2, 4I11/2 – 4F7/2)/(4I15/2 – 4I11/2, 4I13/2 – 4F9/2) (Er3+), ап-конверсия;
2 – 4I11/2 – 4F7/2 + 4I11/2 – 4I15/2 (Er3+), ап-конверсия;
3 – 4S3/2 – 4I9/2 + 4I15/2 – 4I13/2 (Er3+), кросс-релаксация;
4 – 4I13/2 – 4I9/2 + 4I11/2 – 4I15/2 (Er3+), ап-конверсия.
ЗАКЛЮЧЕНИЕ
Исследована видимая люминесценция Er3+ и Yb3+ 525–550 и 663 нм в стеклах, легированных Er3+ и Yb3+, при возбуждении светом с длиной волны 977 нм. Образцы стекол обладают высокой интенсивностью переходов 2H11/2 →4I15/2 и 4S3/2→4I15/2 в ионах Er3+ и широкими полосами люминесценции. Более высокая интенсивность обусловлена отношением концентраций ионов Yb3+ : Er3+, равным 9 : 1, другие отношения концентраций ионов иттербия и эрбия не являются оптимальными.
Экспериментальные значения энергетического выхода (Ben) для активированных стекол составляют: 0.24% (Ст-1), 0.28% (Ст-2), 0.46% (Ст-3). Времена жизни ап-конверсионной люминесценции ионов Er3+ в люминофоре с максимальным значением Ben = 0.46% при переходах между уровнями 2H11/2→4I15/2 и 4S3/2→4I15/2 и 4F9/2→4I15/2 составили 56 ± 5 и 24 ± 3 мкс.
БЛАГОДАРНОСТЬ
Исследования выполнены с использованием оборудования ЦКП БИП СО РАН.
ФИНАНСИРОВАНИЕ РАБОТЫ
Работа выполнена в рамках государственного задания БИП СО РАН (проект № 0273-2021-0008).
КОНФЛИКТ ИНТЕРЕСОВ
Автор заявляет, что у нее нет конфликта интересов.
About the authors
Н. М. Кожевникова
Байкальский институт природопользования СО Российской академии наук
Author for correspondence.
Email: nicas@binm.ru
Russian Federation, ул. Сахьяновой, 6, Улан-Удэ, 670047
References
- Kaewako J., Boonin K. Yasaka P. et al. Optical and Luminescence Characteristics of Doped Zinc Bismuth Borate (ZBB) Glasses for Red Emitting Device // Mater. Res. Bull. 2015. V. 71. P. 37–41.
- Fedorov P.P., Luginina A.A., Popov A.I. Transparent Oxyfluoride Glass Ceramics // J. Fluorine Chem. 2015. V. 172. P. 22–50.
- Gugov I., Mueller M., Ruessel C. Transparent Oxyfluoride Glass Ceramics Co-Doped with and – Cristallization and Upconversion Spectroscopy // J. Solid State Chem. 2011. V. 184. P. 1001–1007.
- Rault G., Adam J.L. Smektala F., Lucas J. Fluoride Glass Compositions for Waveguide Applications // J. Fluorine Chem. 2001. V. 110. № 2. P. 165–173.
- Aseev V. A., Kolobkova E.V., Nekrasova Yu. A. et al. Oxyfluoride Glasses for Red Phosphors // Mater. Phys. Mech. 2013. V. 17. P. 135–141.
- Polishchuk S.A., Ignat,eva L.N., Marchenco Yu.V. et al. Oxyfluoride Glasses // Glass Phys. Chem. 2011. V. 37. № 3. P. 1–20.
- Лойко П.А., Рачковская Г.Е., Захаревич Г.Б. и др. Новые люминесцирующие оксифторидные стекла с ионами европия и иттербия // Стекло и керамика. 2014. № 2. С. 3–6.
- Laczka M., Stoch L., Gorecki J. Bismuth-containing Glasses as Materials for Optoelectronics // J. Alloys Compd. 1992. V. 186. Р. 279–291.
- Oprea I., Hesse H., Betler K. Optical Properties of Bismuth Borate Glasses // Opt. Mater. 2004. V. 26. Р. 235–237.
- Накамото К. ИК спектры и спектры КР неорганических и координационных соединений. М.: Мир, 1991. 269 с.
- Власов А.Г., Флоринская В.А., Венедиктов А.А. и др. Инфракрасные спектры неорганических стекол и кристаллов. Л.: Химия, 1972. 304 c.
- Bale S., Rahman S., Awasthi A.M., Sathe V. Role of Content on Physical, Optical and Vibrational Studies in Glasses // J. Alloys Compd. 2008. V. 460. P. 699–703.
- Yasaka P., Boonin K., Limsuwan P. et al. Physical, Structural and Luminescence Properties of Glass System // Appl. Mech. Mater. 2013. V. 431. P. 8–13.
- Левицкий И.А., Дяденко М.В., Папко Л.Ф. Получение оптических стекол на основе системы // Стекло и керамика. 2011. № 10. С. 3–6.
- Князян Н.Б. Оксифторидные боросиликатные стекла // Химические и экологические технологии. 2012. Вып. 15. № 2. С. 1–23.
- Кузнецова Ю.О. Передача электронного возбуждения в ап-конверсионных наночастицах, содержащих редкоземельные ионы // Изв. Самарского науч. центра РАН. 2013. Т. 15. № 4. С. 112–115.
- Жукова Е.В., Сиротина В.А., Севостьянова Т.С. и др. Свинцовые оксифторидные боросиликатные стекла, активированные редкоземельными элементами // Успехи в химии и хим. технологии. 2016. Т. 30. № 3. С. 108–110.
- Овсянкин В.В., Феофилов П.П. Кооперативная сенсибилизация люминесценции в кристаллах, активированных редкоземельными ионами // Письма в ЖЭТФ. 1966. Т. 4. Вып. 11. С. 471–474.
- Auzel F. Upconversion and Anti-Stokes Processes with f and d Ions in Solids // Chem. Rev. 2004. V. 104. № 1. P. 139–173.
- Казарян А.К. Тимофеев Ю.Р. Фок М.В. Антистоксовое преобразование излучения в люминофорах с редкоземельными ионами // Тр. ФИАН. 1986. Т. 175. С. 4–65.
- Крутько В.А., Рябова А.В., Комова М.Г., Волков В.В., Каргин Ю.Ф., Лощенов В.Б. Синтез и люминесценция ультрадисперсных соединений , , активированных ионами и для диагностики рака // Неорган. материалы. 2013. Т. 49. № 1. С.45–51. https://doi.org/10.7868/S0002337X13010041
Supplementary files







